Dispositivo de preenfriamiento evaporativo del aire de entrada a una máquina de aire acondicionado y método de operación de dicho dispositivo

  1. Inventors:
  2. MARTINEZ MARTINEZ, Pedro
  3. Manuel Lucas Miralles
  4. RUIZ RAMIREZ, Javier
  5. MARTIN MELERO, I�;igo
  1. Universidad Miguel Hernández de Elche
    info
    Universidad Miguel Hernández de Elche

    Elche, España

    Geographic location of the organization Universidad Miguel Hernández de Elche
ES
Publicación principal:

ES3040682A1 (03-11-2025)

Solicitudes:

P202430350 (03-05-2024)

Dispositivo de preenfriamiento evaporativo del aire de entrada a una máquina de aire acondicionado y método de operación de dicho dispositivo

Abstract

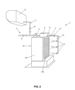
La invención describe un dispositivo (1) de preenfriamiento evaporativo del aire de entrada al condensador de una máquina de aire acondicionado, donde la unidad exterior (22) de dicha máquina de aire acondicionado comprende una carcasa (221) que tiene una entrada de aire (222) hacia dicho condensador. Este dispositivo comprende una pluralidad de atomizadores ultrasónicos (2) y un sistema de alimentación de agua a dichos atomizadores (2). Este dispositivo (1) está configurado para su fijación a dicha unidad exterior (22) de manera que los atomizadores (2) quedan frente a la entrada de aire (22) para pulverizar agua en el seno de la corriente de aire que entra a través de dicha entrada de aire (222). La invención describe también método que comprende pulverizar agua a través de los atomizadores (2) únicamente en aquellos momentos en que se consiga una mejora sensible de la eficiencia de la máquina de aire acondicionado.

INVENES: P202430350